
上海居转户申请一网通办操作指南,上海户口应该如何申请?附详细图文操作流程

►►上海落户查询入口:点击【上海居转户自测系统】,测评能否申请落户
先说三句前提:
居转户现在是一网通办,全程线上办理(线下只提交原件去一次)
居转户申请需要用到法人一证通或者法人的电子营业执照授权
居转户需要企业先开通及审核企业落户权限
按照大部分人比较熟悉的法人一证通KEY登录方式说明,如果单位已经审核过,跳过该环节
登录上海人社局自主经办平台

选择“改版前门户”

选择“人事人才”,进入时需要再次输入密码,还是法人一证通的密码,输入后再次点击即可进入。

没有操作过的,第一次需要选择“单位落户管理”,并按要求填写相关内容。

按照要求填写,需说明三点:
人事只能填在单位交社保的人员,且原则上不是落户本人。
如需要上传营业执照等什么附件,先在附件部分选其它,然后再上传,上传只支持PDF格式。
单位注册信息上报后只需等待线上审核就可以,无需现场递交材料,快的话当天,慢的话两三天足够了。审核成功,状态会从“单位资质申请已于 【XXXX】 上报,等待资质审核中”变为“单位资质已审核通过”。
个人账户开通及填报
单位注册完成后,我们就可以正式填写居转户申请表了,登录上海人社局自主经办平台,进入“居转常落户”。

依次选择箭头所指的:“填写个人信息”,输入“主申请人身份证号”,点击“下一步”就可以填报个人信息了。

首先按下图选择居转户通道条件:

只有选择并满足对应居转户的通道条件,才能进行下一步的填报,如系统判断不满足,是无法进行下一步的。比如走7+中级职通道,但是居住证累计年限不满足84个月,系统会自动判定并提示不满足条件。
以下为系统填报界面:
“科研成果”内容主要是申请人的专业背景及特长,申请人的岗位职责,承担的项目,获得的成绩等。

如同一家公司签订多次合同,以最新一份为准

和户口本保持一致

目前,江浙皖户籍可选择网上迁移;原则上具备档案建立条件的,必须调档

学历从高中填起

和积分类似,简历要求从最后一份全日制学历填起,如高中毕业后工作的,就从高中开始,然后要求逐月连续(简历部分是居转户申报打回的高发区)

选择7+中级职称通道的,必须填下图这个部分;7+2或者5+3通道的,不管你有没有职称,该部分都不需要且建议不填

居转户配偶一般选择“不随迁”

所有子女都要填,不管是否落户;16周岁以内或超过16但能提供高中学籍证明的,均可选择“随迁”

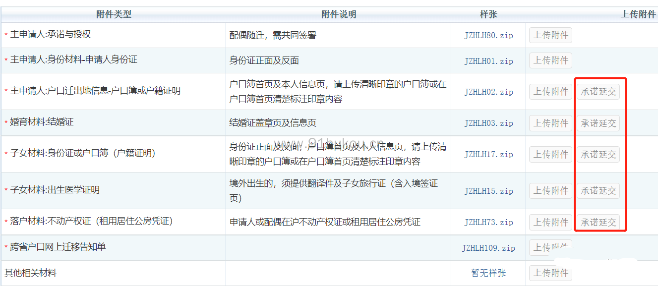
最后进入附件上传,现在新系统很人性化,个人证件类材料都允许延时上传,但也不能太久,超过系统提示的最晚时间会退回(不同的材料类型附件上传会要求不一样,样本为7+2通道,初婚,自己有房产的材料)

至此,个人材料填报部分结束,注意一定要点“完成”
单位上报
单位人事还是先登录,进入”居转常落户“
依次选择箭头所指的“查询与上报”,“上报”

进入“单位申请报告公函”界面,在箭头处下载模板,按要求修改填写后复制到下方内容框中,点“上报”即可

至此,居转户一网通办上报流程全部完成。
为了确保您的测评结果更准确, 我们申请您留下联系方式以便我们人工审核后通过电话回访告诉您准确的测评结果。*您的信息受 《隐私保护声明》保护
提交成功



